| COMPOSANTS |
| [Pas le type ISG] |

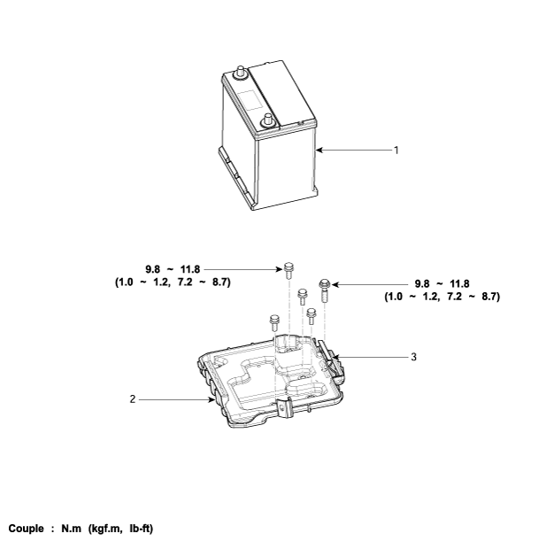
|
1. Batterie 2. Bac de la batterie |
3. Fixation de montage de la batterie |
| [Type ISG] |

|
1. Plaquette d’isolation de la batterie 2. Batterie |
3. Bac de la batterie 4. Fixation de montage de la batterie |
Batterie Description et fonctionnement
Batterie Procédures de réparationsFrein tambour arrière Composants et emplacement des composants
COMPOSANTS
1. Pivot de blocage du segment
2. Régleur du sabot
3. Ressort de rappel supérieur
4. Levier de réglage
5. Segment
6. Ressort de réglage
7. Ressort de rappel inférieur
8. Ressort de blocage de segment
9. Cylindre ...
Commande de réglage du débit d′huile (OCV) du système CVVT Description et fonctionnement
Description
Le système de distribution par soupapes à variation continue (CVVT) avance ou
retarde le calage de soupape des soupapes d'admission et d'échappement en fonction
du signal de commande ECM calculé sur la charge et la vitesse du moteur.
En contrôlant ...