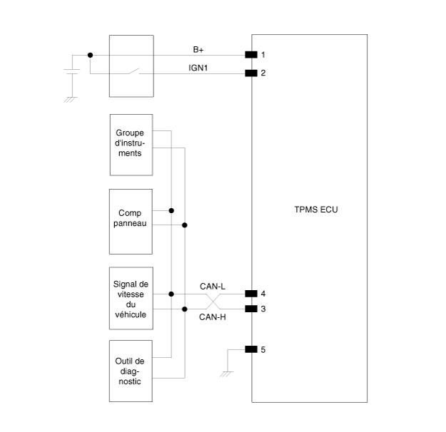
| Schéma du circuit |

| Connecteur de faisceau de câblage |

|
N° de broche |
Description |
||
|
1 |
Batterie (+) |
||
|
2 |
Allumage ON |
||
|
3 |
CAN H |
||
|
4 |
CAN L |
||
|
5 |
MASSE |
||
|
6 |
NC |
||
Description et fonctionnement
À capteur TPMS Description et fonctionnementIndicateur de dysfonctionnement du TPMS (Tire Pressure Monitoring System, système
de surveillance de la pression des pneus)
L'indicateur de dysfonctionnement du TPMS va rester allumé après avoir clignoté
pendant environ une minute en cas de défaillance du système de contrôle de la pression
des pneus. Si le système détecte à la fois un avertissement de sousgonflage de pneu
et une défaillance du syst ...
75 000 km (50 000 miles) ou 60 mois
❑ Vérifiez le filtre à air - Sauf pour la Chine, l'Inde et le Moyen-Orient
❑ Vérifiez le compresseur/fluide réfrigérant du système de climatisation (le cas
échéant)
❑ Vérifiez l'état de la batterie
❑ Vérifiez les canalisations de freins, les flexibles de frein et les ...