Kia Picanto manuels

Kia Picanto: Déclencheur du rétroviseur électrique de porte Procédures de réparation

Kia Picanto Revue Technique Automobile
Kia Picanto Revue Technique Automobile / Système électrique de carrosserie / Rétroviseur lectrique portière / Déclencheur du rétroviseur électrique de porte Procédures de réparation

Contrôle
1.
Débranchez la borne négative (-) de la batterie.
2.
Déposez le couvercle delta (A).

3.
Débranchez le connecteur du rétroviseur.
4.
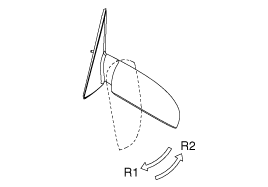
Vérifiez que le rétroviseur fonctionne correctement comme sur le tableau.

CONTRÔLE DE CHAUFFAGE DU RÉTROVISEUR

Contrôle de la lampe du clignotant

ESCAMOTAGE DU RÉTROVISEUR

Interr. rétroviseur lectrique Procédures de réparation
Contrôle 1. Déconnectez le connecteur du module de l'interrupteur du rétroviseur électrique de porte du panneau de l'ordinateur de bord de la porte av ...

Vitres électriques
...

Autres materiaux:

Chauffage et climatisation
1. Démarrez le moteur. 2. Réglez le mode sur la position souhaitée. Pour améliorer l'efficacité du chauffage et du refroidissement ; - Chauffage: - Refroidissement: 3. Réglez la commande de la température sur la position souhaitée. 4. Réglez la commande d’admission d’air en p ...

Pare-chocs arrière Composants et emplacement des composants
Composants (1) (5 portes) 1. Recouvrement du pare-chocs arrière 2. Support latéral du pare-chocs arrière [D] 3. Support latéral du pare-chocs arrière [G] COMPOSANTS (2) [3 portes] ...

© 2016-2026 www.kpicantofr.com