Kia Picanto manuels

Kia Picanto: Garde-boue Procédures de réparations

Kia Picanto Revue Technique Automobile

REMPLACEMENT
  
Lorsque vous enlevez ou installez l'aile, vous avez besoin de l'aide d'une personne.
Faites attention à ne pas endommager l'aile et la carrosserie.
Utiliser un outil spécial pour enlever les clips.
1.
Enlevez le couvercle du pare-chocs avant.
(Reportez-vous au groupe BD - "Pare-chocs avant")
2.
Enlevez les phares.
(Reportez-vous au groupe BE - "Phares".)
3.
Dévissez les vis de fixation du garde-boue (A).

4.
Après avoir desserré les vis de fixation et les clips, déposez la moulure de seuil latérale (A).

5.
Après avoir desserré les vis de fixation, déposez le support de fixation latéral du pare-chocs avant (A).

6.
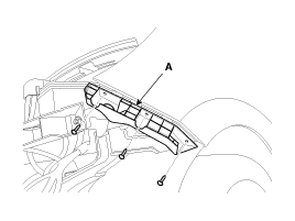
À l'aide d'un tournevis ou d'un dispositif de dépose, retirez la garniture delta (B).
7.
Après avoir desserré les boulons et l'écrou de fixation, déposez l'aile (A).

8.
Pour la pose, suivez la procédure inverse de la dépose.
Extérieur
...

Capot Procédures de réparations
REMPLACEMENT REMPLACEMENT DE L′ENSEMBLE DU CAPOT    • Lorsqu'on dépose ou ins ...

Autres materiaux:

Femmes enceintes
Pour diminuer le risque de blessure en cas d'accident, l'utilisation d'une ceinture de sécurité est recommandée pour les femmes enceintes. La sangle de bassin de la ceinture de sécurité doit être placée le plus bas possible et être ajustée le plus possible autour des hanch ...

Utilisation de l'émetteur
Garez le véhicule et arrêtez le moteur. Activez le système comme décrit cidessous. 1.Coupez le moteur et retirez la clé du contact. 2.Assurez-vous que toutes les portes (et le hayon) et le capot sont fermés et verrouillés. 3.Pour verrouiller les portes, appuyez sur le bouton de verrouil ...

© 2016-2025 www.kpicantofr.com